Corsi di lingua russa a Roma
Corsi di lingua russa a Roma
Corsi di lingua russa ANNO 2016-2017
Tipologia dei corsi
• Corsi base (120 ore accademiche)
Il corso base annuale, articolato in...
В Неаполе повторилось “чудо святого Януария”
В Неаполе повторилось "чудо святого Януария"
Разжижение крови покровителя города, хранящейся в местном Кафедральном соборе, по мнению жителей Неаполя, является хорошим предзнаменованием.
В Неаполе 19 сентября...
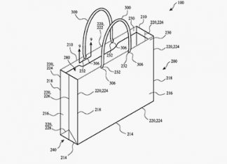
Apple изобрела суперэкологичный бумажный пакет
Apple изобрела суперэкологичный бумажный пакет
Компания Apple запатентовала обыкновенный бумажный пакет с гибкими ручками.
Патентная заявка была подана в марте 2016 года, однако стала доступна общественности...
“Исламское государство” получило поддержку с воздуха
"Исламское государство" получило поддержку с воздуха
"Исламское государство" получило поддержку с воздуха. Авиация США по ошибке разбомбила противостоящую террористам группировку сирийской армии.
Российско-американское сотрудничество в Сирии...
Россияне за рубежом активно принимали участие в выборах в Госдуму
Россияне за рубежом активно принимали участие в выборах в Госдуму
На избирательных участках на выборах в Госдуму, открытых накануне в странах СНГ, Балтии, Абхазии и...
18 сентября в России прошел единый день голосования
18 сентября в России прошел единый день голосования
18 сентября в России прошел единый день голосования. Граждане выбирали состав новой Госдумы, региональных парламентов, а в...
В Италии под лозунгом «Иcкусство инновации» пройдет V Евразийский форум
В Италии под лозунгом «Иcкусство инновации» пройдет V Евразийский форум
В Вероне (Италия) 20 и 21 октября 2016 г. состоится V Евразийский форум. Он пройдет...
Как Ренци разрушил иллюзию единства ЕС
Как Ренци разрушил иллюзию единства ЕС
Премьер-министр Италии Маттео Ренци помешал Ангеле Меркель продемонстрировать миру единство Евросоюза, пишет Politico.
"Лидеры Евросоюза попытались выступить единым фронтом, но Италия...
Зеркало русской имперскости: о выставке Пиранези в ГМИИ имени Пушкина
Зеркало русской имперскости: о выставке Пиранези в ГМИИ имени Пушкина
В ГМИИ имени Пушкина открывается выставка "Пиранези. До и после. Италия — Россия. XVIII-XXI века". Около...
В Риме состоится открытие Международной миротворческой ассамблеи «Рождение мира»
В Риме состоится открытие Международной миротворческой ассамблеи «Рождение мира»
Пресс-релиз
Международная миротворческая ассамблея «Рождение мира»
осенняя Сессия 24.09.16 18:30
Пьяцца Бенедетто Каироли, 6, г.Рим, Италия
24 сентября 2016...
В Риме скончался бывший президент Италии Карло Адзелио Чампи
В Риме скончался бывший президент Италии Карло Адзелио Чампи
16 августа, в пятницу на 96-м году жизни скончался бывший президент Италии Карло Адзельо Чампи.
Десятый президент...
Путин объяснил, почему Крым воссоединился с Россией
Путин объяснил, почему Крым воссоединился с Россией
На юбилейном саммите СНГ в Бишкеке президент Владимир Путин объяснил послу Украины в Киргизии, почему Крым воссоединился с...
«Русская премия» приглашает русскоязычных писателей принять участие в конкурсе
«Русская премия» приглашает русскоязычных писателей принять участие в конкурсе
Международный литературный конкурс "Русская премия" для авторов, постоянно проживающих за пределами России, но пишущих на русском,...
Враг поневоле
Враг поневоле
Русским не оставили выбора: их официально назначили на высокий пост главных врагов империи, и это назначение не требует согласия потерпевшего.
Почему выбрали именно...
Bloomberg: данные по допингу ставят под сомнение честность WADA
Bloomberg: данные по допингу ставят под сомнение честность WADA
Утечка данных о приеме западными спортсменами запрещенных препаратов по медицинским показаниям посеет сомнения относительно деятельности Всемирного антидопингового агентства...
Евросоюз скрепляют единой армией и бесплатным Wi-Fi
Евросоюз скрепляют единой армией и бесплатным Wi-Fi
Глава Еврокомиссии выступил с программной речью о настоящем и будущем ЕС.
Над Евросоюзом нависла "экзистенциальная угроза". Это признал вчера...
70 лет культовому режиссеру и сценаристу Оливеру Стоуну
70 лет культовому режиссеру и сценаристу Оливеру Стоуну
15 сентября исполняется 70 лет знаменитому американскому режиссёру и сценаристу, автору фильмов «Взвод», «Прирождённые убийцы», «Рожденный четвёртого...
Италии и России санкции не помеха
Италии и России санкции не помеха
Содействие открытости для торговли и инвестиций – один из девяти приоритетных пунктов итогового коммюнике, принятого лидерами «Большой двадцатки» на...
В океане к 2050 году будет больше пластика, чем рыбы
В океане к 2050 году будет больше пластика, чем рыбы
В США заместитель госсекретаря Кэтрин Новелли сделала заявление о том, что уже к 2050 году количество пластиковых...
Международный валютный фонд выделил Киеву $1 млрд
Международный валютный фонд выделил Киеву $1 млрд
Международный валютный фонд (МВФ) санкционировал выделение Украине первого после реструктуризации долга транша финпомощи — в размере $1 млрд. Возможность...









































